Ring oss idag! 0340 69 00 00. Vardagar 06:30 - 17:00 Lördagar 9:00 - 12:00 Sön- & helgdagar Stängt
  • Kända varumärken
  • Rätt pris året om
  • Trygga betalningar Klarna logo
Rosa Oktober 2024 - Vi stödjer Bröstcancerförbundet
Välj butik
Butik
Varbergs Trä Varberg
Susvindsvägen 22
432 32 Varberg
Öppettider
  • Mån-Fre 06:30 - 17:00
  • Lör Stängt
  • Sön Stängt
Butik
Varbergs Trä Falkenberg
Plankagårdsvägen 3
311 45 Falkenberg
Öppettider
  • Mån-Fre 06:30 - 17:00
  • Lör Stängt
  • Sön Stängt

Varukorg

Produkter
Antal
à-pris
Summa med moms
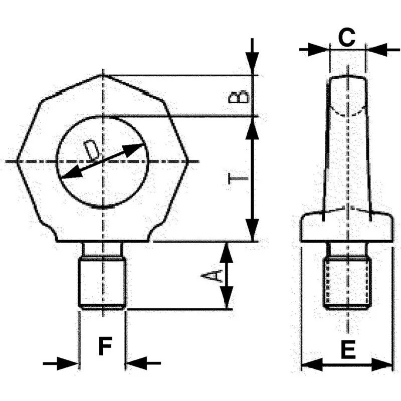
Art. nr: 005521946 EAN: 4008244214470 Lev. Art. nr: 192681609
RUD

LYFTÖGLA MED TAPP RS KLASS 8 M42 (103722-)

RUD LYFTÖGLA MED TAPP RS KLASS 8, 005521946

LYFTÖGLA MED TAPP RS M42 KL8 Läs mer

Hämta i butik
Varberg: Kontrollerar lagerstatus
Falkenberg: Kontrollerar lagerstatus
Köp online
Kontrollerar lagerstatus
Beräknad leverans:
Moms ingår med
Produktinformation

LYFTÖGLA MED TAPP RS M42 KL8

Lyftfäste klass 8. Märklasten gäller vid sidobelastning i öglans riktning- vid mer gynnsamma situationer tillåts högre last enligt lasttabell. Fördelar: Garanterat 100% spricktestad. Garanterat full arbetslast i 0-180° i öglans riktning. Finns att få med UNC och Metrisk fingänga på begäran. Pulverlackerad röd. Uppfyller BGR-500 kap 2.8, EN 12100-1, EN 12100-2, EN 14121-1, EN 1677-1. Kan fås med material- och testcertifikat på begäran. CE-märkt enligt EUs maskindirektiv 2006/42/EC.